Huawei brevetta una ghiera per smartwatch sensibile al tocco
Huawei brevetta una ghiera per smartwatch sensibile al tocco
Gli smartwatch hanno uno schermo di piccole dimensioni che non sempre consente la piena interazione con le varie funzioni. Per ovviare a questo problema, e far sì che l'accesso ad alcune funzioni sia semplificato, gli orologi touch screen si avvalgono di quattro sistemi, alternativi o complementari: una ghiera rotante, che permette, per esempio di spostarsi attraverso i menu, una corona che può anch'essa essere ruotata, oppure premuta, uno o due pulsanti fisici sui lati. Molti degli smartwatch sul mercato impiegano una combinazione di due o più dei precedenti metodi di controllo, per rendere più efficiente l'interazione con l'utilizzatore.
Per evitare di toccare il display, per esempio, Samsung usa una ghiera girevole, mentre Apple usa una corona touch, e la maggioranza degli altri produttori sfrutta uno o più pulsanti tradizionali. Huawei, dal canto suo, ha brevettato nuove tecnologie che, se messe in pratica, rivoluzioneranno l’esperienza utente degli smartwatch.
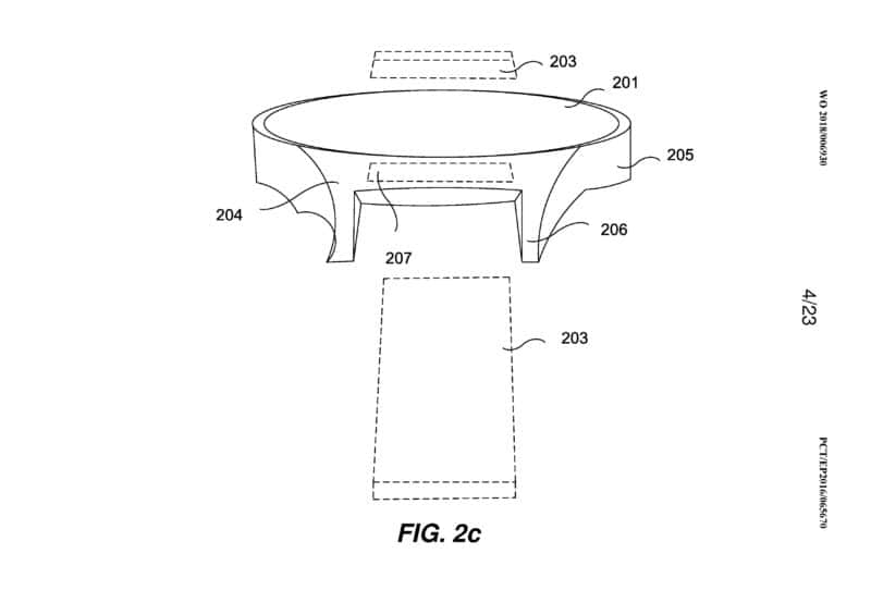
Il produttore cinese, infatti, secondo alcuni documenti ed immagini trapelati dal sito della WIPO (World Intellectual Property Organization), avrebbe da poco ottenuto dall'ente l'approvazione per il brevetto di una particolare ghiera per smartwatch, completamente priva di pulsanti o parti "mobili", e sensibile al tocco ed alla pressione delle dita.
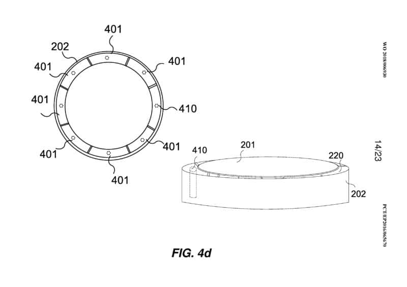
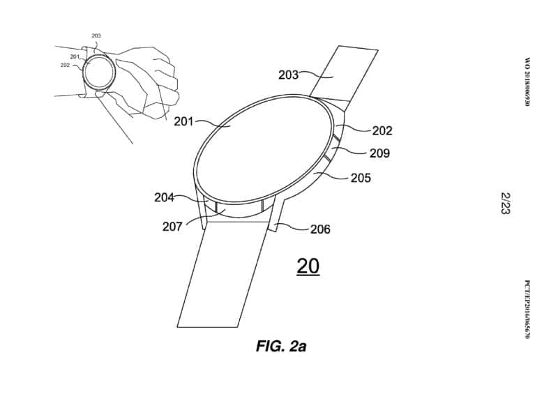
Stando a quanto si vede chiaramente nelle immagini, la ghiera avrà otto zone sensibili, ciascuna delle quali associabile ad una o più azioni specifiche attraverso il tocco del dito, o la pressione, o il semplice "swipe". Queste otto aree potranno anche essere combinate fra loro (e quindi toccate simultaneamente), per implementare un maggior numero di funzioni. Inoltre le immagini mostrano due zone in prossimità degli agganci del cinturino, probabilmente anch'esse sensibili non solo al tocco, ma anche alla pressione.
In base alla descrizione delle altre immagini si intuisce, per esempio, che si potrà passare il dito sulla parte inferiore della ghiera per scorrere a destra e a sinistra, o sulla parte superiore per scorrere invece verso l'alto o il basso. Allo stesso modo, ci saranno combinazioni per altri comandi, ad esempio zoomare toccando la ghiera dell'orologio alle 2:40.
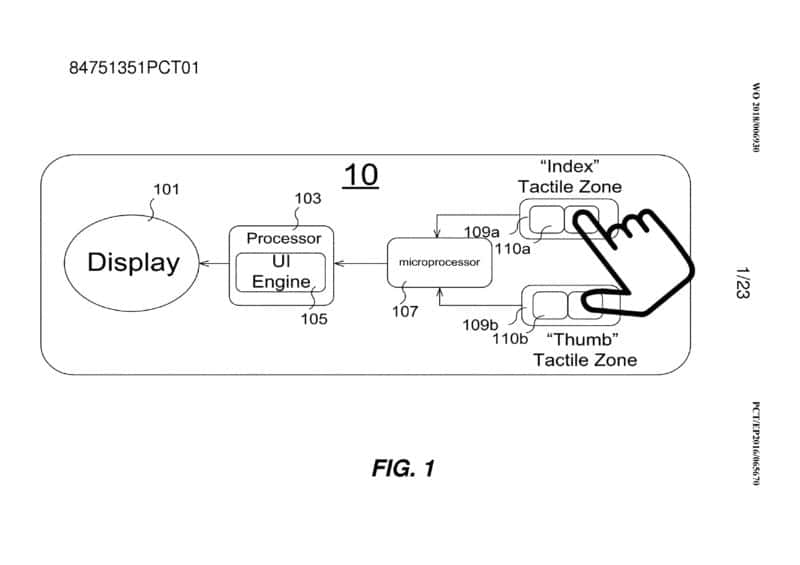
Nel documento vengono menzionate anche le diciture force sensing e double force sensing, legate probabilmente ad una serie di livelli di pressione, da esercitare sulle alcune parti della ghiera.
Oltre a quanto detto, c'è una seconda possibile configurazione, con altre zone interattive, che esulano dalla ghiera, e che ampliano ulteriormente il ventaglio delle funzioni implementabili: questo sarà possibile attraverso l'aggiunta di due pulsanti, sensibili alla pressione, posizionati sui bordi destro e inferiore della cassa, e di due o più pulsanti anche sul cinturino.
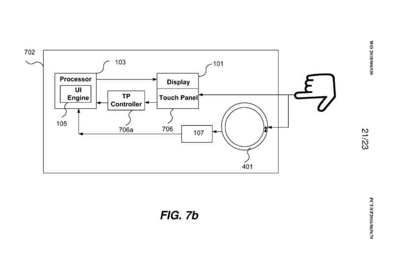
Ovviamente tutte le gesture, sia quelle della ghiera, che quelle di cassa, anse e cinturino, per funzionare correttamente, richiederanno modifiche all'interfaccia utente, e dovranno essere supportate dal sistema operativo. Ma Huawei si è già portata avanti anche in questo, integrando la richiesta di brevetto con un documento contenente la descrizione dettagliata (purtroppo in cinese) di una nuova interfaccia che garantisca il supporto di tali tecnologie.
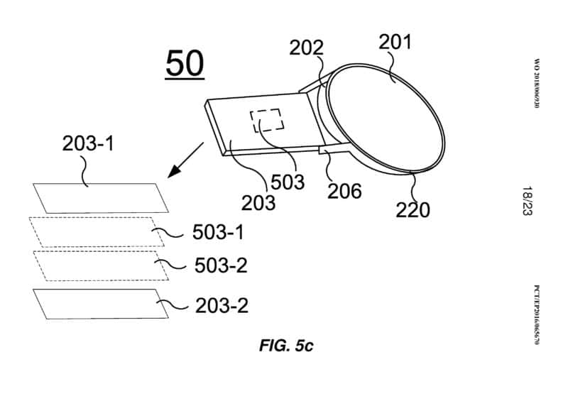
Queste nuove tecnologie, inoltre, potranno essere applicate a vari materiali come acciaio, plastica, alluminio e ceramica per quanto riguarda la ghiera, e silicone o pelle per i cinturini.
Non è dato sapere quando queste novità tecnologiche verranno utilizzate e messe in pratica da Huawei, ma sicuramente i brevetti richiesti gettano le basi per un futuro Huawei Watch, forse il modello di terza generazione, che come ogni anno dovrebbe essere presentato al Mobile World Congress, previsto per la fine del mese di febbraio. Ma ovviamente ancora non c'è niente di certo... vi terremo sicuramente aggiornati in proposito.























